
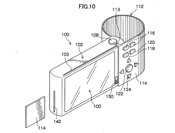
其實與其花大篇的文字解釋 Sony 的新專利,看上圖真的就一目了然了。Sony 的 T 系列家族(廣義的講)從始祖 T1 以來幾乎都是採取潛望式鏡頭+滑蓋的設計,但雖然滑蓋系統中不乏頗巧妙的機構(有人記得 T500 嗎?),但倒沒有一個像 Sony 新近申請的專利這樣「有用」的。雖然說這麼個方方的小握把大概實質的幫助並不大,但總是聊勝於無嘛... 現在只看 Sony 準備什麼時候將它做成產品了。
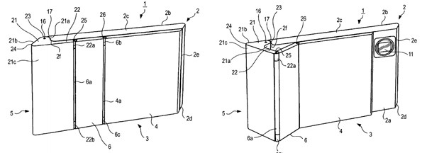
有趣的是,Sony 不是第一個想到某種折疊握把的公司 -- 在專利中 Sony 援引了 Fujifilm 以往的一個專利,是將背面的 LCD 保護蓋卷曲到前方來變成握把。不消說,這個設計最後的成果是有些誇張,或許這就是我們到現在都沒看到它應用在實機上的原因吧 XD。繼續閱讀裡有 Fujifilm 的專利圖。

【新聞日期】2011-02-05
【撰文作者】湯蕙如
【圖照作者】
【原文網頁】
engadget
文章標籤
全站熱搜

